Мы используем cookie для наилучшего представления нашего сайта. Подробнее об этом в Политике конфиденциальности.
Ок

Королев

Ваш город:
Королев (Московская область)?
Нет
Да
Каталог
Каталог Написать в WhatsApp
Мотоэкипировка

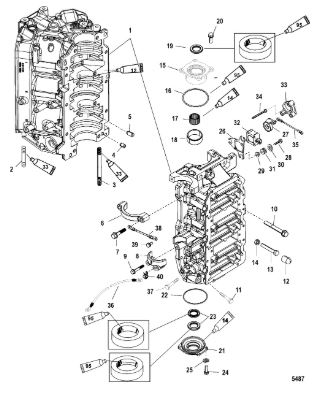
Блок цилиндров 2-Х ТАКТНОГО ПЛМ MERCURY 150 PRO XS L OPTIMAX Серийный номер от 1B690542 и выше

Блок цилиндров 2-Х ТАКТНОГО ПЛМ MERCURY 150 PRO XS L OPTIMAX Серийный номер от 1B690542 и выше в Королёве: актуальный каталог, цены, фото, описание. Купите блок цилиндров 2-х тактного плм mercury 150 pro xs l optimax серийный номер от 1b690542 и выше в кредит – оформите заявку онлайн за 1 минуту!

Оригинальные запчасти

Артикул НАИМЕНОВАНИЕ Кол-во деталей в узле Примечание Наличие Цена Аналоги Фото
1 858961A8 CYLINDER BLOCK ASSEMBLY

Под заказ

1

Под заказ

уточнить

Купить
2 8M0034455 STUD

Под заказ

6

Под заказ

уточнить

Купить
3 670654 STUD, (.375-16/.375-24 x 5.620)

Под заказ

2

Под заказ

уточнить

Купить
4 8M0034454 STUD

Под заказ

2

Под заказ

уточнить

Купить
5 43044 Штифт (PIN, Dowel - Without Hole (.375 x .625))

Под заказ

2

Под заказ

уточнить

Купить
6 8M0036405 Штифт (PIN CENTER MAIN)

Под заказ

2

Под заказ

уточнить

Купить
7 8M0041759 COVER

Под заказ

1

Под заказ

уточнить

Купить
8 828213 Болт (SCREW@5)

Под заказ

2

Под заказ

уточнить

Купить
9 76867 COVER, STARTER MOTOR (LOWER)

Под заказ

1

Под заказ

уточнить

Купить
10 828214 SCREW, (.312-18 x 2.00) Hex Flange

Под заказ

2

Под заказ

уточнить

Купить
11 66717 SCREW, (.375-16 x 3.250), CRANKCASE TO CYLINDER BLOCK

Под заказ

8

Под заказ

уточнить

Купить
12 74824 SCREW, CRANKCASE TO CYLINDER BLOCK (1-1/4")

Под заказ

6

Под заказ

уточнить

Купить
13 26852 Колпачок (CAP, SPARK ADVANCE LEVER STOP SCREW)

Под заказ

1

Под заказ

уточнить

Купить
14 856832 SCREW, (.250-20 x 1.750)

Под заказ

1

Под заказ

уточнить

Купить
15 64015 NUT, STARTER SOLENOID TERMINAL (1/4-20)

Под заказ

1

Под заказ

уточнить

Купить
16 832760T1 Верхняя обойма коленвала (END CAP ASSEMBLY)

Под заказ

1

Под заказ

уточнить

Купить
17 54029 Уплотнительное кольцо (O RING@5)

Под заказ

1

Под заказ

уточнить

Купить
18 16756A4 Подшипник (BEARING KIT)

Под заказ

1

Под заказ

уточнить

Купить
19 881190 SCREW, (.312-18 x 1.00)

Под заказ

4

Под заказ

уточнить

Купить
20 7809T1 END CAP ASSEMBLY

Под заказ

1

Под заказ

уточнить

Купить
21 62700 Уплотнительное кольцо (O RING)

Под заказ

1

Под заказ

уточнить

Купить
22 41953 Сальник (seal)

Под заказ

2

Под заказ

уточнить

Купить
23 8538821 BRACKET, Throttle Position Indicator Mount

Под заказ

1

Под заказ

уточнить

Купить
24 8519371 LEVER, Throttle Position Indicator

Под заказ

1

Под заказ

уточнить

Купить
25 82130025 SCREW, (M6 x 25)

Под заказ

3

Под заказ

уточнить

Купить
26 856954 Втулка (BUSHING)

Под заказ

3

Под заказ

уточнить

Купить
27 65567 WASHER, TOP COWL CATCH (UPPER)

Под заказ

3

Под заказ

уточнить

Купить
28 834985 Втулка (GROMMET)

Под заказ

3

Под заказ

уточнить

Купить
29 8M6005165 Датчик полож дроссельной заслонки (TPI)

Под заказ

1

Под заказ

уточнить

Купить
30 8582261 COVER, TPS

Под заказ

1

Под заказ

уточнить

Купить
31 8508281 SCREW, (#10-32 x 2.00), TPS to Bracket

Под заказ

3

Под заказ

уточнить

Купить
32 8M0084738 Линк (LINK ASSY)

Под заказ

1

Под заказ

уточнить

Купить
33 88439A26 Аккумуляторный кабель- (CABLE ASSY-NEG)

Под заказ

1

Под заказ

уточнить

Купить
34 88439A46 CABLE ASSEMBLY, Battery - Positive

Под заказ

1

Под заказ

уточнить

Купить
35 81893414 SCREW, (M8 x 14)

Под заказ

1

Под заказ

уточнить

Купить
36 93388A1 CABLE, STARTER TO SOUND ATTENUATOR (BLACK)

Под заказ

1

Под заказ

уточнить

Купить
37 69035 SCREW, WIRE TO STARTER MOTOR (5/8")

Под заказ

1

Под заказ

уточнить

Купить
38 859172 CLAMP, Use where Applicable

Под заказ

1

Под заказ

уточнить

Купить
39 8M0046714 Набор прокладок (GASKET SET)

Под заказ

1

Под заказ

уточнить

Купить

Нулевая цена не означает отсутствие товара. Оформите заказ, и менеджер сообщит вам цену и наличие товара, предварительно запросив их у поставщика

Главная Магазины
Корзина0
Профиль