Мы используем cookie для наилучшего представления нашего сайта. Подробнее об этом в Политике конфиденциальности.
Ок

Королев

Ваш город:
Королев (Московская область)?
Нет
Да
Каталог
Каталог Написать в WhatsApp
Мотоэкипировка

Комплект для дистанционного управления 2-х тактного ПЛМ MERCURY 30 M Серийный номер от 0N001875 до 0N055504

Комплект для дистанционного управления 2-х тактного ПЛМ MERCURY 30 M Серийный номер от 0N001875 до 0N055504 в Королёве: актуальный каталог, цены, фото, описание. Купите комплект для дистанционного управления 2-х тактного плм mercury 30 m серийный номер от 0n001875 до 0n055504 в кредит – оформите заявку онлайн за 1 минуту!

Оригинальные запчасти

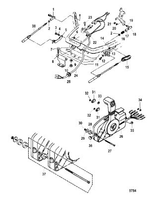
Артикул НАИМЕНОВАНИЕ Кол-во деталей в узле Примечание Наличие Цена Аналоги Фото
1 853800T01 Установочный комплект (ATTACHING KIT)

Под заказ

1

Под заказ

уточнить

Купить
2 853804 Держатель (CONNECTOR)

Под заказ

1

Под заказ

уточнить

Купить
3 16705 BOLT, HEAD

Под заказ

2

Под заказ

уточнить

Купить
4 8538021 Кронштейн (SHIFT CABLE RETAINER)

Под заказ

1

Под заказ

уточнить

Купить
5 400212 Гайка (NUT)

Под заказ

2

Под заказ

уточнить

Купить
6 8538022 Плата крепления рулевой тяги (STEERING PLATE)

Под заказ

1

Под заказ

уточнить

Купить
7 16192 Шайба (WASHER@10)

Под заказ

2

Под заказ

уточнить

Купить
8 400213 Гайка

Под заказ

2

Под заказ

уточнить

Купить
9 898103A79 SCREW/WASHER KIT, Includes Reference 22

Под заказ

2

Под заказ

уточнить

Купить
10 853802 Держатель (RETAINER)

Под заказ

1

Под заказ

уточнить

Купить
11 17169 Хомут (CLAMP)

Под заказ

1

Под заказ

уточнить

Купить
12 16827 Болт (SCREW)

Под заказ

1

Под заказ

уточнить

Купить
13 853799A1 Проводка (HARNESS (3.9M))

Под заказ

1

Под заказ

уточнить

Купить
14 853799A2 HARNESS (5.9M)

Под заказ

1

Под заказ

уточнить

Купить
15 162262 Уплотнитель (GROMMET)

Под заказ

1

Под заказ

уточнить

Купить
16 881170A9 ДИСТАНЦИОННОЕ УПРАВЛЕНИЕ Электрический пуск – без усилителя дифферента Mercury/Mercruiser

Под заказ

1

Под заказ

уточнить

37 730

Купить
17 853989 SCREW

Под заказ

3

Под заказ

уточнить

Купить
18 853990 SPACER

Под заказ

3

Под заказ

уточнить

Купить
19 853991 WASHER

Под заказ

3

Под заказ

уточнить

Купить
20 8539921 Защитный колпачок (TERMINAL EYE)

Под заказ

2

Под заказ

уточнить

Купить
21 853993 GROMMET

Под заказ

1

Под заказ

уточнить

Купить
22 853995 GROMMET

Под заказ

1

Под заказ

уточнить

Купить
23 8539951 GROMMET

Под заказ

1

Под заказ

уточнить

Купить
24 853997A1 MOUNTING KIT-TWIN REMOTE CONTROL

Под заказ

1

Под заказ

уточнить

Купить

Нулевая цена не означает отсутствие товара. Оформите заказ, и менеджер сообщит вам цену и наличие товара, предварительно запросив их у поставщика

Главная Магазины
Корзина0
Профиль