Мы используем cookie для наилучшего представления нашего сайта. Подробнее об этом в Политике конфиденциальности.
Ок

Королев

Ваш город:
Королев (Московская область)?
Нет
Да
Каталог
Каталог Написать в WhatsApp
Мотоэкипировка

Поворотный кронштейн (S/N: 0D182000 и выше) 2-Х ТАКТНОГО ПЛМ MERCURY 50EO Серийный номер от 0D000750 до 0G290584

Поворотный кронштейн (S/N: 0D182000 и выше) 2-Х ТАКТНОГО ПЛМ MERCURY 50EO Серийный номер от 0D000750 до 0G290584 в Королёве: актуальный каталог, цены, фото, описание. Купите поворотный кронштейн (s/n: 0d182000 и выше) 2-х тактного плм mercury 50eo серийный номер от 0d000750 до 0g290584 в кредит – оформите заявку онлайн за 1 минуту!

Оригинальные запчасти

Артикул НАИМЕНОВАНИЕ Кол-во деталей в узле Примечание Наличие Цена Аналоги Фото
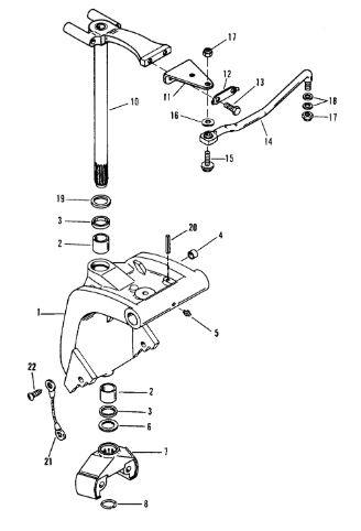
1 8M0084208 BRKT-SWIVEL-BLACK

Под заказ

1

Под заказ

уточнить

Купить
2 822864A2 SWIVEL BRACKET

Под заказ

1

Под заказ

уточнить

Купить
3 822863A1 SWIVEL BRACKET

Под заказ

1

Под заказ

уточнить

Купить
4 822863A2 SWIVEL BRACKET

Под заказ

1

Под заказ

уточнить

Купить
5 822863A3 SWIVEL BRACKET

Под заказ

1

Под заказ

уточнить

Купить
6 821124 Подшипник

Под заказ

2

Под заказ

уточнить

Купить
7 32911 Сальник

Под заказ

2

Под заказ

уточнить

Купить
8 19606 BEARING

Под заказ

2

Под заказ

уточнить

Купить
9 74036 Смазочный фиттинг (GREASE FITTING - EARLY STYLE)

Под заказ

3

Под заказ

уточнить

Купить
10 25176 WASHER, SWIVEL PIN TO BOTTOM YOKE (.060)

Под заказ

1

Под заказ

уточнить

Купить
11 19654T1 Нижний кронштейн поворотной штанги (BOTTOM YOKE)

Под заказ

1

Под заказ

уточнить

Купить
12 19654T7 ORD 19654T 1

Под заказ

1

Под заказ

уточнить

Купить
13 19654F1 BOTTOM YOKE

Под заказ

1

Под заказ

уточнить

Купить
14 77415 Стопор (RETIANING RING, BOTTOM YOKE)

Под заказ

1

Под заказ

уточнить

Купить
15 812897A19 Поворотный стержень (SWIVEL PIN)

Под заказ

1

Под заказ

уточнить

Купить
16 812897A20 ORD 17-812897A19

Под заказ

1

Под заказ

уточнить

Купить
17 812896A22 SWIVEL PIN

Под заказ

1

Под заказ

уточнить

Купить
18 812896A23 SWIVEL PIN-GR-LG

Под заказ

1

Под заказ

уточнить

Купить
19 812896A16 SWIVEL PIN

Под заказ

1

Под заказ

уточнить

Купить
20 893696 BRACKET

Под заказ

1

Под заказ

уточнить

Купить
21 8M0009820 Шайба-проставка (TAB WASHER)

Под заказ

1

Под заказ

уточнить

Купить
22 4000377 Болт (SCREW)

Под заказ

2

Под заказ

уточнить

Купить
23 19608A14 Рулевой комплект (Steering kit)

Под заказ

1

Под заказ

уточнить

Купить
24 19609A6 Рулевой комплект (Steering kit)

Под заказ

1

Под заказ

уточнить

Купить
25 856680 Болт (SCREW)

Под заказ

1

Под заказ

уточнить

Купить
26 71970 Шайба (WASHER)

Под заказ

1

Под заказ

уточнить

Купить
27 826709113 Гайка (NUT-.375-24 NYL I)

Под заказ

2

Под заказ

уточнить

Купить
28 37828 Шайба (WASHER)

Под заказ

2

Под заказ

уточнить

Купить
29 52865 Шайба

Под заказ

1

Под заказ

уточнить

Купить
30 823876 PIN, Handle

Под заказ

1

Под заказ

уточнить

Купить
31 88238A10 Кабель (CABLE ASSY)

Под заказ

1

Под заказ

уточнить

Купить
32 41508 SCREW

Под заказ

1

Под заказ

уточнить

Купить

Нулевая цена не означает отсутствие товара. Оформите заказ, и менеджер сообщит вам цену и наличие товара, предварительно запросив их у поставщика

Главная Магазины
Корзина0
Профиль