Мы используем cookie для наилучшего представления нашего сайта. Подробнее об этом в Политике конфиденциальности.
Ок

Королев

Ваш город:
Королев (Московская область)?
Нет
Да
Каталог
Каталог Написать в WhatsApp
Мотоэкипировка

Стартер 2-Х ТАКТНОГО ПЛМ MERCURY 50EO Серийный номер от 0P325500 и выше

Стартер 2-Х ТАКТНОГО ПЛМ MERCURY 50EO Серийный номер от 0P325500 и выше в Королёве: актуальный каталог, цены, фото, описание. Купите стартер 2-х тактного плм mercury 50eo серийный номер от 0p325500 и выше в кредит – оформите заявку онлайн за 1 минуту!

Оригинальные запчасти

Артикул НАИМЕНОВАНИЕ Кол-во деталей в узле Примечание Наличие Цена Аналоги Фото
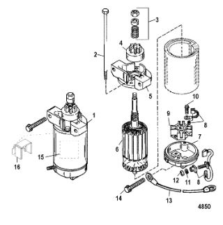
1 893890T Стартер (STARTER ASSY)

Под заказ

1

Под заказ

уточнить

Купить
2 965661 THRU BOLT

Под заказ

1

Под заказ

уточнить

Купить
3 90643 Крепление ведущей шестерни стартера (DRIVE KIT)

Под заказ

1

Под заказ

уточнить

Купить
4 685753 Бендикс (DRIVE)

Под заказ

1

Под заказ

уточнить

Купить
5 8236392 DRIVE CAP

Под заказ

1

Под заказ

уточнить

Купить
6 965651 Якорь стартера (ARMATURE)

Под заказ

1

Под заказ

уточнить

Купить
7 8119011 Крышка стартера (CAP-COMMUTATOR)

Под заказ

1

Под заказ

уточнить

Купить
8 898265016 Щетки стартера (BRUSH/SPRING KIT )

Под заказ

1

Под заказ

уточнить

Купить
9 898265014 Крепление щеток стартера (HOLDER-BRUSH)

Под заказ

1

Под заказ

уточнить

Купить
10 F15158 Болт (SCREW)

Под заказ

2

Под заказ

уточнить

Купить
11 64015 NUT, STARTER SOLENOID TERMINAL (1/4-20)

Под заказ

1

Под заказ

уточнить

Купить
12 88439A9 Электрокабель (CABLE ASSY-POS)

Под заказ

1

Под заказ

уточнить

Купить
13 40011153 Болт (SCREW)

Под заказ

3

Под заказ

уточнить

Купить
14 823989 BRACKET, Oil Tank

Под заказ

1

Под заказ

уточнить

Купить

Нулевая цена не означает отсутствие товара. Оформите заказ, и менеджер сообщит вам цену и наличие товара, предварительно запросив их у поставщика

Главная Магазины
Корзина0
Профиль