Мы используем cookie для наилучшего представления нашего сайта. Подробнее об этом в Политике конфиденциальности.
Ок

Королев

Ваш город:
Королев (Московская область)?
Нет
Да
Каталог
Каталог Написать в WhatsApp
Мотоэкипировка

Компоненты расширения 2-Х ТАКТНОГО ПЛМ MERCURY 55 Серийный номер от 0D000750 до 0G290584

Компоненты расширения 2-Х ТАКТНОГО ПЛМ MERCURY 55 Серийный номер от 0D000750 до 0G290584 в Королёве: актуальный каталог, цены, фото, описание. Купите компоненты расширения 2-х тактного плм mercury 55 серийный номер от 0d000750 до 0g290584 в кредит – оформите заявку онлайн за 1 минуту!

Оригинальные запчасти

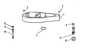
Артикул НАИМЕНОВАНИЕ Кол-во деталей в узле Примечание Наличие Цена Аналоги Фото
1 816696A3 SPACER

Под заказ

1

Под заказ

уточнить

Купить
2 816696A4 SPACER

Под заказ

1

Под заказ

уточнить

Купить
3 816696A5 SPACER

Под заказ

1

Под заказ

уточнить

Купить
4 816696T5 SPACER

Под заказ

1

Под заказ

уточнить

Купить
5 816696T6 ORD 816696T 5

Под заказ

1

Под заказ

уточнить

Купить
6 43044 Штифт (PIN, Dowel - Without Hole (.375 x .625))

Под заказ

1

Под заказ

уточнить

Купить
7 8M0084244 Штифт (PIN - DOWEL)

Под заказ

1

Под заказ

уточнить

Купить
8 817401A1 TUBE ASSEMBLY, Water

Под заказ

1

Под заказ

уточнить

Купить
9 38970 Сальник (SEAL @5)

Под заказ

1

Под заказ

уточнить

Купить
10 821093 SEAL

Под заказ

1

Под заказ

уточнить

Купить
11 21836 Уплотнительные кольца водяной помпы для Alpha One

Под заказ

1

Под заказ

уточнить

Купить
12 856774 Шайба (WASHER)

Под заказ

4

Под заказ

уточнить

Купить
13 40140 Гайка М10 (NUT @2)

Под заказ

5

Под заказ

уточнить

Купить
14 8M0034425 STUD

Под заказ

5

Под заказ

уточнить

Купить

Нулевая цена не означает отсутствие товара. Оформите заказ, и менеджер сообщит вам цену и наличие товара, предварительно запросив их у поставщика

Главная Магазины
Корзина0
Профиль