Мы используем cookie для наилучшего представления нашего сайта. Подробнее об этом в Политике конфиденциальности.
Ок

Королев

Ваш город:
Королев (Московская область)?
Нет
Да
Каталог
Каталог Написать в WhatsApp
Мотоэкипировка

Корпус карданного вала 4-Х ТАКТНОГО ПЛМ MERCURY 4 Серийный номер от 0P073456 до 0P400999

Корпус карданного вала 4-Х ТАКТНОГО ПЛМ MERCURY 4 Серийный номер от 0P073456 до 0P400999 в Королёве: актуальный каталог, цены, фото, описание. Купите корпус карданного вала 4-х тактного плм mercury 4 серийный номер от 0p073456 до 0p400999 в кредит – оформите заявку онлайн за 1 минуту!

Оригинальные запчасти

Артикул НАИМЕНОВАНИЕ Кол-во деталей в узле Примечание Наличие Цена Аналоги Фото
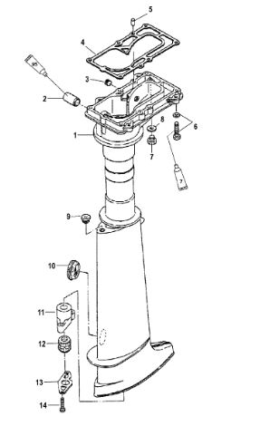
1 803591T1 HOUSING, Driveshaft

Под заказ

1

Под заказ

уточнить

Купить
2 803591T2 HOUSING, Driveshaft

Под заказ

1

Под заказ

уточнить

Купить
3 16114 Втулка (BUSHING, SHIFT LEVER)

Под заказ

1

Под заказ

уточнить

Купить
4 803593 Заглушка (PLUG, Exhaust)

Под заказ

1

Под заказ

уточнить

Купить
5 803508016 Прокладка (GASKET)

Под заказ

1

Под заказ

уточнить

Купить
6 879194264 Болт (BOLT)

Под заказ

6

Под заказ

уточнить

Купить
7 879194296 Заглушка (PLUG-WATER)

Под заказ

1

Под заказ

уточнить

Купить
8 8M0082880 Прокладка (GASKET @3)

Под заказ

1

Под заказ

уточнить

Купить
9 161181 Втулка (GROMMET)

Под заказ

1

Под заказ

уточнить

Купить
10 16117 Заглушка (GROMMET)

Под заказ

1

Под заказ

уточнить

Купить
11 827663A1 Направляющая втулка (HOUSING)

Под заказ

1

Под заказ

уточнить

Купить
12 811214 BUSHING

Под заказ

1

Под заказ

уточнить

Купить
13 16121 Пластина-фиксатор (RETAINER, DRIVESHAFT BUSHING)

Под заказ

1

Под заказ

уточнить

Купить
14 16122 SCREW (SHORT)

Под заказ

2

Под заказ

уточнить

Купить
15 8M0114820 POWERHEAD GASKET

Под заказ

1

Под заказ

уточнить

Купить
16 803508A05 POWERHEAD GASKET SET

Под заказ

1

Под заказ

уточнить

Купить

Нулевая цена не означает отсутствие товара. Оформите заказ, и менеджер сообщит вам цену и наличие товара, предварительно запросив их у поставщика

Главная Магазины
Корзина0
Профиль