Мы используем cookie для наилучшего представления нашего сайта. Подробнее об этом в Политике конфиденциальности.
Ок

Королев

Ваш город:
Королев (Московская область)?
Нет
Да
Каталог
Каталог Написать в WhatsApp
Мотоэкипировка

Корпус шестерни, приводной вал-Non Bigfoot 4-Х ТАКТНОГО ПЛМ MERCURY 9.9 Серийный номер от 0P325500 и выше

Корпус шестерни, приводной вал-Non Bigfoot 4-Х ТАКТНОГО ПЛМ MERCURY 9.9 Серийный номер от 0P325500 и выше в Королёве: актуальный каталог, цены, фото, описание. Купите корпус шестерни, приводной вал-non bigfoot 4-х тактного плм mercury 9.9 серийный номер от 0p325500 и выше в кредит – оформите заявку онлайн за 1 минуту!

Оригинальные запчасти

Артикул НАИМЕНОВАНИЕ Кол-во деталей в узле Примечание Наличие Цена Аналоги Фото
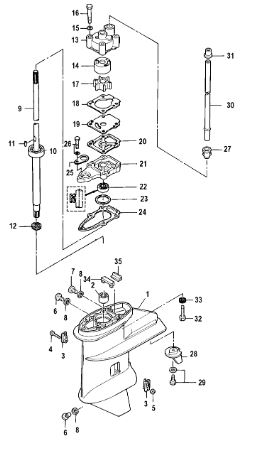
1 8M0135929 GC 8/9.9 4S SHORT

Под заказ

1

Под заказ

уточнить

Купить
2 8M0070883 GEAR HSG COMPLETE

Под заказ

1

Под заказ

уточнить

Купить
3 895154T01 Корпус редуктора (GEAR HOUSING ASSEMBLY, Basic)

Под заказ

1

Под заказ

уточнить

Купить
4 803675004 Подшипник (BEARING, Roller)

Под заказ

1

Под заказ

уточнить

Купить
5 803730001 STRAINER, Water

Под заказ

2

Под заказ

уточнить

Купить
6 17635 SCREW, STARTER LOCK

Под заказ

1

Под заказ

уточнить

Купить
7 85372216 NUT

Под заказ

1

Под заказ

уточнить

Купить
8 953683 Заглушка (PLUG-OIL)

Под заказ

1

Под заказ

уточнить

Купить
9 8M0082880 Прокладка (GASKET @3)

Под заказ

3

Под заказ

уточнить

Купить
10 803738017 DRIVESHAFT-SHORT

Под заказ

1

Под заказ

уточнить

Купить
11 803738018 DRIVESHAFT-LONG

Под заказ

1

Под заказ

уточнить

Купить
12 161326 Подшипник (BEARING, Ball)

Под заказ

1

Под заказ

уточнить

Купить
13 9521811 Шпонка основания водяной помпы (PIN-ROLL)

Под заказ

1

Под заказ

уточнить

Купить
14 8037401 Шестерня (GEAR)

Под заказ

1

Под заказ

уточнить

Купить
15 803750A02 Корпус помпы (HOUSING ASSEMBLY, Upper Water Pump)

Под заказ

1

Под заказ

уточнить

Купить
16 8037511 Стакан крыльчатки F8-9.9 (LINER)

Под заказ

1

Под заказ

уточнить

Купить
17 895106 *** Шайба (WASHER @2)

Под заказ

4

Под заказ

уточнить

Купить
18 8037481 Крыльчатка (IMPELLER)Используется на четырехтактных моторах: 8-9.9 л.с. с объемом двигателя 209 куб.

Под заказ

1

Под заказ

уточнить

2 550

Купить
19 8M0072137 Прокладка (GASKET)

Под заказ

1

Под заказ

уточнить

Купить
20 8037531 Зеркало помпы F8-9,9 209cc (GUIDE PLATE)

Под заказ

1

Под заказ

уточнить

Купить
21 8M0072138 Прокладка зеркала помпы F8-9.9 (GASKET)

Под заказ

1

Под заказ

уточнить

Купить
22 803750A01 BASE ASSEMBLY, Water Pump, Lower

Под заказ

1

Под заказ

уточнить

Купить
23 95348 Сальник (SEAL-OIL)

Под заказ

1

Под заказ

уточнить

Купить
24 8537955 Прокладка (SHIM)

Под заказ

1

Под заказ

уточнить

Купить
25 8M0072139 Прокладка (GASKET)

Под заказ

1

Под заказ

уточнить

Купить
26 16165 Фиксатор (RETAINER, CAM ROD BUSHING)

Под заказ

1

Под заказ

уточнить

Купить
27 823042 Болт (BOLT)

Под заказ

1

Под заказ

уточнить

Купить
28 804903 Уплотнитель трубки охл. F8-9.9 (GROMMET)

Под заказ

1

Под заказ

уточнить

Купить
29 853762T01 Триммер (TRIM TAB)

Под заказ

1

Под заказ

уточнить

Купить
30 167051 Болт (BOLT)

Под заказ

1

Под заказ

уточнить

Купить
31 803755004 TUBE, Water

Под заказ

1

Под заказ

уточнить

Купить
32 803755005 TUBE, Water

Под заказ

1

Под заказ

уточнить

Купить
33 804899002 GROMMET (Upper)

Под заказ

1

Под заказ

уточнить

Купить
34 895155 SEAL, Water

Под заказ

1

Под заказ

уточнить

Купить
35 895156 PLATE, Water Seal

Под заказ

1

Под заказ

уточнить

Купить
36 8M0082883 GASKET SET

Под заказ

1

Под заказ

уточнить

Купить
37 803750A03 Помпа (PUMP KIT, Water - Complete)

Под заказ

1

Под заказ

уточнить

Купить
38 853792T11 REPAIR KIT-CHROME

Под заказ

1

Под заказ

уточнить

Купить
39 803748K01 REPAIR KIT, Water Impeller

Под заказ

1

Под заказ

уточнить

Купить
40 803748Q01 Ремкомплект помпы (REPAIR KIT, Water Impeller)

Под заказ

1

Под заказ

уточнить

Купить

Нулевая цена не означает отсутствие товара. Оформите заказ, и менеджер сообщит вам цену и наличие товара, предварительно запросив их у поставщика

Главная Магазины
Корзина0
Профиль